



<
>
电磁手动除铁器RCDB
时间:2025-12-03 18:10:26浏览量:33
RCDB系列电磁手动除铁器是用于清除粉状或块状非磁性物料中杂铁的除铁设备。其内部线圈采用电工专用树脂浇注,自冷式全密封结构,具有透磁深度大、吸力强、防尘、防雨、耐腐蚀
产品详情
RCDB系列电磁手动除铁器是用于清除粉状或块状非磁性物料中杂铁的除铁设备。其内部线圈采用电工专用树脂浇注,自冷式全密封结构,具有透磁深度大、吸力强、防尘、防雨、耐腐蚀等特点,在极其恶劣的环境中仍能可靠运行。
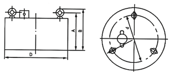
主要技术参数:
| 型号 | 适应带宽mm | 额定吊高h mm | 磁感应强度mT | 励磁功率≤kw | 外形尺寸mm | 重量kg | |||
| A | B | D | d | ||||||
| RCDB-5 | 500 | 150 | 70 | 0.8 | 280 | 325 | 500 | 380 | 380 |
| RCDB-6 | 600 | 180 | 70 | 1.4 | 280 | 325 | 600 | 500 | 520 |
| RCDB-6.5 | 650 | 200 | 70 | 1.8 | 280 | 325 | 650 | 550 | 615 |
| RCDB-8 | 800 | 250 | 70 | 2.9 | 310 | 355 | 800 | 650 | 850 |
| RCDB-10 | 1000 | 300 | 70 | 4.5 | 310 | 360 | 1000 | 800 | 1360 |
| RCDB-12 | 1200 | 350 | 70 | 5.2 | 310 | 365 | 1200 | 1000 | 2020 |
| RCDB-14 | 1400 | 400 | 70 | 7.9 | 405 | 485 | 1400 | 1200 | 2655 |
| RCDB-16 | 1600 | 450 | 70 | 11 | 460 | 540 | 1600 | 1450 | 4520 |
| RCDB-18 | 1800 | 500 | 70 | 16 | 530 | 610 | 1800 | 1650 | 6400 |
注:1.本系列各型号磁感应强度均有90、120、150mT。
2.本系列各型号冷却方式均有风冷及油冷方式。


上一篇:磁性矿联合除铁器RCDL
下一篇:电磁自卸除铁器RCDD



